
1 / 3
Пины безударные Эндокарбон для фиксации мембран, размер пина: 2,7 мм., 25шт., арт: Psu-01-27/25
Артикул:Psu-01-27/25
Производитель:Эндокарбон
Все товары бренда ЭндокарбонВсе товары категории Пины и винты стоматологические (хирургические) для фиксации мембран
Защита покупателя
Соответствие 152-ФЗ
Гарантия возврата
14 дней на возврат товара
Описание
ВНИМАНИЕ! Пины хирургические подходят только к осциллирующему наконечнику для профилактики SMARTmatic S53 (KaVo) или его аналогов.
Для работы с пинами необходима кассета, так как вручную зафиксировать пин на отвертке достаточно сложно!
Пины стоматологические для хирургии предназначенные для фиксации мембран безударным методом.
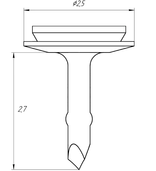
Диаметр стержня: 0,6 мм
Диаметр шляпки: 2,5 мм
Высота шляпки: 0,5 мм
Размер пина: 2,7 мм
Материал: Титан марки ВТ-6
Видоизмененный пин со специальным остреем который вводится в костную ткань вращательными, возвратно-поступательными движениями, делается это при помощи специального углового наконечника для физиодиспенсера, который производит колебания на 90 градусов по часовой стрелке и обратно.
Новый метод фиксации мембран имеет ряд преимуществ:
- Исчезает необходимость использования молотка во время установки пинов.
- Манипуляция выполняется одной рукой.
- Специальный ободок по краю пина дает возможность легко отсоединять держатель боковым движением на излом, пин при этом остается в костной ткани.
-При введении пина таким способом пин никогда не загибается.
- Использование углового наконечника позволяет легко установить пин с язычной стороны.
Производитель: EndoCarbon
Рекомендуемые товары не найдены